How to produce nonwoven fabric?

05 August, 2024

Nonwoven fabric is a sheet, web or pad product made of directional or randomly arranged fibers, which are combined with each other through friction, cohesion or bonding, or a combination of these methods. It is a cloth-like, fiber-structured material that is formed by consolidating the fiber web together by mechanical, chemical, thermal or other methods without spinning, weaving and other traditional weaving methods. It has the characteristics of short process flow, wide source of raw materials, low cost, high output, varied products and wide application range. There are many varieties of nonwoven fabrics, and there are also many classification methods. According to the web-forming method, it can be divided into dry nonwoven fabrics, wet nonwoven fabrics and polymer direct web-forming nonwoven fabrics; according to the reinforcement method, it can be divided into mechanical reinforcement, chemical bonding reinforcement and thermal bonding reinforcement. Mechanical reinforcement methods can be divided into needle punching, hydroentanglement, stitching and so on. The following mainly introduces the processing method of nonwoven fabrics for ultrafine fiber synthetic leather, that is, dry carding web needle punched nonwoven fabrics. The non-woven fabric process mainly includes pre-carding preparation, carding, web laying, needling, etc. The process flow is shown in the figure.


Preparation before carding: Loose fibers with a certain length and linear density must be combed before they can be formed into a web and then processed into non-woven fabrics. Before carding, the raw materials need to be opened, oiled, mixed, and dusted, and the fibers are quantitatively delivered to the carding machine as required. These are collectively referred to as preparation before carding. The main tasks of preparation before carding are: feeding, mixing, and opening fiber raw materials of different properties, different varieties, or different batches separately, or feeding, mixing, and opening together, so that the compressed fiber blocks in the fiber package are loosened into small fiber bundles through mechanical impact and tearing; further mixing the fibers that have been initially opened so that different fibers can be fully mixed; further opening the mixed fibers to form a mixed fiber layer for carding by the carding machine.

 

(1) Cotton feeding weighing machine and cotton blending curtain opening machine

 

Cotton feeding weighing machine and cotton blending curtain opening machine are shown in the figure. They are mainly used to measure and feed fibers of different properties or different batches in proportion, and perform preliminary mixing and opening. The working principle of the cotton feeding weighing machine is: the fiber is laid on the cotton feeding curtain, sent to the corner nail curtain by the cotton conveying curtain, and then stripped by the cotton feeding roller and the cotton stripping beater, and sent to the weighing bucket, and the cotton is fed to the mixed cotton curtain by controlling the valve of the weighing bucket. Generally, each production line is equipped with two to three cotton feeding weighing machines.

1—Cotton feeding curtain 2—Cotton conveying curtain 3—Photoelectric control 4—Cotton feeding roller 5—Corner nail curtain 6—Cotton stripping beater 7—Valve 8—Scale bucket 9—Scale bucket valve 10—Cotton blending curtain

 

The following figure is a schematic diagram of the cotton blending curtain opening machine. The fibers dropped by each automatic weighing machine are continuously laid on the cotton blending curtain in sequence according to different mixing ratios and transported to the cotton feeding roller. After being opened and mixed by the cotton stripping beater, they are sucked away by the fan of the front machine. In this process, short fibers that do not meet the requirements of moisture content and oil can be supplemented with oil.

1—Weighing machine 2—Cotton-mixed curtain wall 3—Small cotton-pressing curtain 4—Cotton-mixed curtain 5—Large cotton-pressing curtain

6—Cotton-feeding roller 7—Cotton-stripping beater

(2) Blended cotton curtains have a certain mixing effect, but this mixing effect is not great. In order to achieve uniform color or uniform mixing of several raw materials, they are generally further mixed in a cotton blending machine to meet the requirements of carding. There are many types of cotton blending machines. The picture below is a multi-bin cotton blending machine.

1—Cotton feeding channel 2—Feeding valve 3—Cotton mixing channel 4—Photoelectric tube 5—Return air channel

6—Cotton mixing chamber 7—Cotton feeding roller 8—Opening beater 9—Cotton mixing channel 10—Cotton outlet channel

 

The airflow generated by the cotton conveying fan transports the loosened raw materials to the cotton inlet channel, and feeds them to the cotton mixing bin at different times. They are mixed in the cotton mixing channel through the cotton feeding rollers and the opening beaters, and are output from the cotton outlet channel at the same time. The "horizontal laying and direct taking" method is adopted to achieve time difference mixing.

 

(3) Fine opening machine

 

The fine opening machine is used to further loosen the fibers. Its working principle is shown in below figure . The pre-opened fiber raw materials are received by the airflow, and the fibers are further loosened through the rollers and beaters, so that large fiber blocks and fiber clusters are separated into small pieces of fibers, creating conditions for carding into single fibers on the carding machine in the next step.

1—Cotton inlet 2—Cotton condenser 3—Cotton storage bin 4—Roller and beater 5—Motor 6—Cotton outlet

 

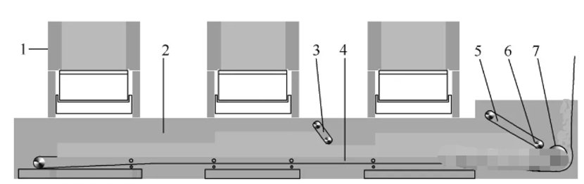
(4) Chute cotton box feeder

 

For fiber web formation, the balanced and stable supply of tufts (aggregated fibers) is crucial to the quality of the fiber web. Therefore, after the fiber raw materials are mixed and loosened, they must be supplied to the subsequent carding process through the feeding system. According to the feeding method, it can be divided into two types: fixed volume feeding and fixed weight feeding. The pneumatic cotton box feeder is shown in the figure. It belongs to fixed volume feeding and uses compressed air as the medium and control means for conveying fibers. The specific process is: the fibers are transported to the upper cotton storage box through the cotton inlet under the action of air flow. The air flow is discharged from the exhaust duct from the air flow outlets on both sides of the upper cotton storage box, and the fibers fall into the upper cotton storage box. If the height of the fiber stored in the upper cotton storage box remains unchanged, the pressure will remain unchanged; if there are too many fibers, the airflow outlet will be covered more, the air discharge pressure will increase, and the pressure of the upper cotton storage box will increase. After the pressure increase signal is fed back, it will control the upper device to reduce the fiber feeding amount, and vice versa, so as to keep the air pressure of the upper cotton storage box constant. After the cotton feeding roller captures the tufts from the bottom of the upper cotton storage box, it continuously squeezes and transports them to the opening beater. The opening beater rotates rapidly to open the tufts into small tufts of uniform size. The stable airflow evenly transports the tufts into the lower cotton storage box. The airflow outlets on both sides of the lower cotton storage box also play a role in maintaining stable pressure. Finally, the fiber raw materials in the lower cotton storage box form dense and uniform tufts, which are output by the cotton conveying rollers at the bottom of the lower cotton storage box through the cotton guide plate.

1—cotton inlet 2—dust exhaust duct 3—upper cotton storage box 4, 8—air flow outlet 5—cotton feeding roller

6—opening beater 7—lower cotton storage box 9—cotton conveying roller 10—cotton guide plate

 

Carding

 

In the production process of dry nonwoven fabrics, carding is a key process, and the quality of carding directly affects the quality of subsequent products. The main tasks of carding are: further loosening the fibers and removing impurities; further mixing the fiber raw materials; carding the block tufts into bundles, and then carding them into single fibers; carding the fibers into a web. The double-doffer carding machine can overlap the double-layer fiber web evenly; the carding machine with a messing mechanism can make the fibers of the fiber web arranged in a messy manner, reducing the strength difference in the longitudinal and transverse directions of the product. There are many types of carding machines. The following is an example of the double-cylinder double-doffer condensation messing carding machine commonly used for carding ultrafine fibers to introduce the carding process, as shown in the figure.

1—chute feeder 2—Feeding roller 3—Feeding plate 4—Tick-in roller 5—Breast cylinder 6—Main cylinder

7—Working roller 8—Stripping roller 9—Doffer 10—Miscellaneous roller 11—Outlet curtain

 

After mixing, the fibers are evenly fed from the air pressure cotton box by the feeding rollers through the cotton feeding plate and the licker-in rollers to the chest cylinder. The combing unit on the chest cylinder performs preliminary combing on the fibers. Then, the licker-in rollers feed the fibers to the main cylinder. The multiple combing units on the main cylinder fully comb the fibers. The combed fibers are partially stripped by the upper and lower doffers respectively, and after being condensed and disordered, they are introduced into the upper and lower net curtains and overlapped into a double-layer net. (1) Indicators for evaluating fiber webs ① Fiber web weight refers to the mass of fibers contained in the fiber web per unit area (g/m2). ② Fiber web uniformity refers to the uniformity of fiber distribution in the fiber web, which is usually expressed by the mass unevenness of the fiber web, namely the CV value (coefficient of variation), including transverse unevenness and longitudinal unevenness.

③ Fiber web orientation The arrangement direction of fibers in the fiber web is generally expressed by orientation. The number of fibers arranged in a certain direction in the fiber web is called orientation. Longitudinal direction (MD) refers to the arrangement of fibers along the machine output direction, and transverse direction (CD) refers to the arrangement of fibers perpendicular to the machine output direction. Chaos refers to the uniformity of the number of fibers arranged in all directions of the fiber web. If MD:CD≫1 or ≪1, the fiber web has a high degree of orientation; if MD:CD≈1, the fiber web has a high degree of chaos. The ratio of the longitudinal and transverse breaking strengths of nonwoven materials is usually used to judge the degree of orientation or chaos of the fiber web.

 

(2) Principle of carding

① Carding clothing

Card clothing is completed by card clothing on various rollers such as cylinders, rollers, stripping rollers, and doffers. Card clothing is an important component of the carding machine. Metal card clothing for carding machines is a carding machine covering with a certain thickness and width and a surface of needles or teeth, as shown in the figure. The base of the metal card clothing is wide, can withstand large carding forces, does not deform, the outer dimensions of the teeth are accurate, the service life is long, and the output is high, which is conducive to improving the quality of carding and fiber webs. The tip of the card clothing can be large, such as a sawtooth, or small, such as a fine needle. The geometric parameters of the metal card clothing have an important influence on the performance of combing and transfer. The main parameters are tooth shape, working angle, tooth height, tooth top area and density. The most important is the tooth surface working angle, which directly affects the force and movement of the fiber during the combing process. Generally, the working angle of the card clothing for the working roller and doffer is smaller than that of the cylinder card clothing, which is conducive to the working roller and doffer to grab the fiber.



+86-18560687269